深圳公司注册

联系方式
您的位置:首页 > 常见问题 > 商城入驻问题汇总 > 入驻京东因注册资金不足被驳回怎么办
入驻京东因注册资金不足被驳回怎么办 发布时间:2016-04-19 17:16:19 ┊ 作者:luolt ┊ 浏览

        京东随着各类目入驻商家增多,许多类目已经接近饱和,也导致了逐步提升了入驻门槛。其中对注册资金、公司注册年限等有了明确的说明、不符合标准的均被驳回。

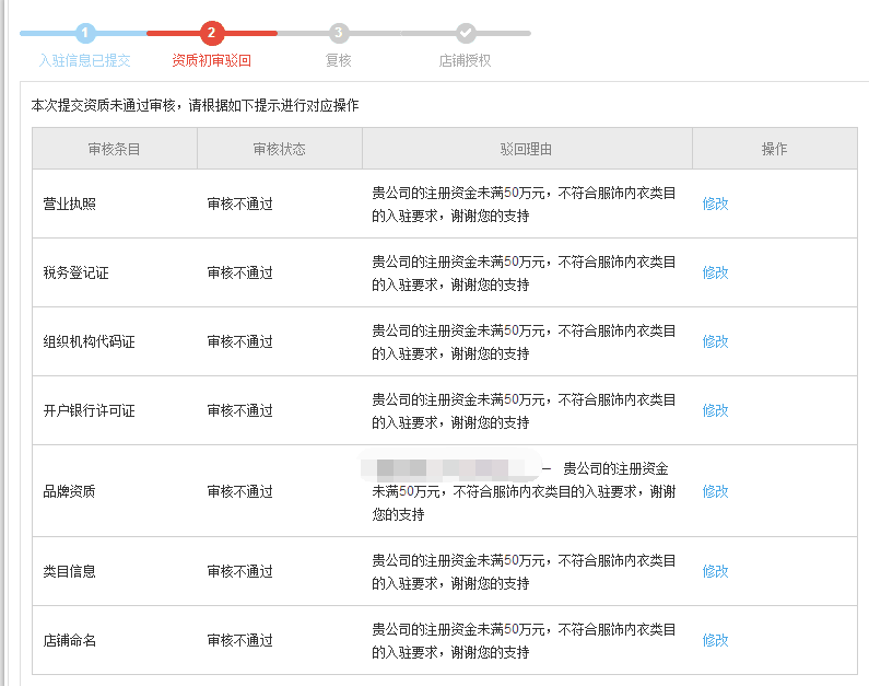
因为公司注册资金不足,被京东驳回案例
        针对公司注册资金不足的问题、首先要进行工商增资,注册资金增加之后,需另外到税务局同步工商变更信息,这一步很多朋友并不知道,如果超过30天不进行此操作,税务将会产生罚款,之后在进行入驻,当然京东入驻还有非常多的细节需要知道,如有更多公司注册资金不足或者年限不足入驻京东的问题,欢迎拨打服务热线400-8656-521,或咨询网站右侧在线客服。


相关热词搜索:京东商城入驻 公司注册资金

上一篇:2016年入驻京东因企业经营异常初审被驳回怎么办
下一篇:入驻京东店铺命名在什么情况下可以使用官方旗舰店

关注我们 新浪微博 腾讯微博
创富邦微信号:chinacfb

微信扫码享优惠!

24小时咨询热线电话:400-068-4008  邮箱:service@cfbang.cn
公司地址:深圳市宝安区新湖路2138号华美居商务中心B区7楼729
版权所有 Copyright 深圳创富邦商务服务有限公司  粤ICP备14076041号-1
展开